Подвижный подвес SB
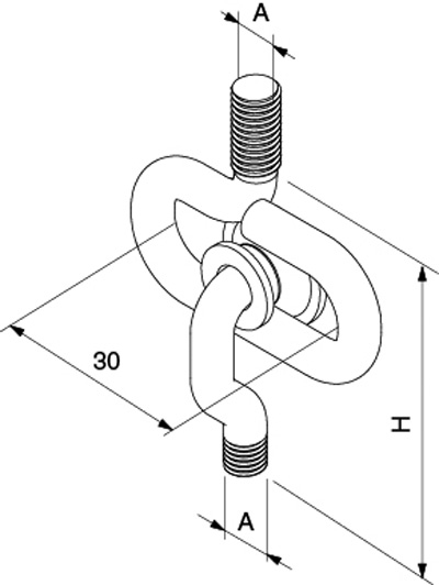
Подвижный подвес SB — это легкий скользящий элемент с большим ходом для компенсации изменений осевой длины трубопроводов. Максимальное расстояние скольжения составляет 30 мм при проектной высоте 75 или 90 мм с резьбой. Грузоподъемность подвижного подвеса составляет до 0,65 кН. Существует два типоразмера подвесов SB: M8 и M10. Выполнены из оцинкованной стали, подходят для монтажа внутри помещений. Подвижный подвес SB M10 имеет сертификат по огнестойкости, что дополнительно подчеркивает безопасность применения подвеса.
2 варианта продукта
GTIN (код EAN)
Резьба (А)
Высота H (H)
Количество
4006209796801
M 8
75
25
Детали
Технические характеристики
GTIN (код EAN)
4006209796801
Количество
25
Количество в упаковке
25
Резьба (А)
M 8
Высота H (H)
75

4006209796818
M 10
90
25
Детали
Технические характеристики
GTIN (код EAN)
4006209796818
Количество
25
Количество в упаковке
25
Протокол пожарных испытаний
X
Резьба (А)
M 10
Высота H (H)
90

Лучшие предложения
Нужна помощь?
Заполните форму и получите консультацию. Гарантируем индивидуальный подход и экспертный взгляд


